一、案例問題
某電熱毯企業,自己做過電熱毯發熱線25000次彎曲試驗,結果合格,試驗情況如圖1所示。但送到實驗室申請電熱毯CCC認證時,電熱毯發熱線23681次彎曲后外層絕緣斷裂,未能經受25000次彎曲的試驗,被視為不合格。
同樣的樣品做同樣的發熱線彎曲試驗為什么會出現不同的結果?

圖1 發熱線彎曲試驗
(圖片來源于實拍)
二、案例分析
筆者仔細觀察委托人提供的試驗設備照片,發現發熱線彎曲的角度并沒有達到180°,大約是135°,如圖2所示。
圖2 彎曲角度未達到180°
(圖片來源于實拍)
換句話說企業自己做試驗時的彎曲效果對發熱線要求較“松”,比較容易合格,如果按標準的要求彎曲則較“嚴”,比較容易出現不合格,所以就出現了同樣的樣品一個試驗結果合格,一個結果不合格。
綜上所述,為了確保不同實驗室試驗結果“一致性”,應使用符合標準要求的儀器設備試驗。
三、標準條款
GB 4706.8-2008/IEC 60335-2-17:2006 Ed2.1《家用和類似用途電器的安全 第2部分:電熱毯、電熱墊及類似柔性發熱器具的特殊要求》標準
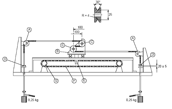
21.111.1 把發熱元件或內部布線的樣品連接到如圖111所示的設備上,此設備有一個帶兩個輪子的滑車,每個輪子上都有一個半徑為4mm的槽,槽底的直徑為25mm,輪子的安放位置應能使樣品在它們之間水平通過。
注1:對不具圓截面的樣品,輪子上槽的形式也因之改變以相適應。
將樣品在輪子上展開,每個端頭都帶上一個質量為0.25kg的負荷。如果必要,在每個端頭的負荷以每級0.1kg逐步增加以確保從輪子出來的發熱元件或電線互相平行。限制夾具的位置應使拉力總是通過上述質量并以滑車運動相反的方向施加。
滑車通過鏈條裝置以約為0.33m/s的恒定速度在距離為1m的長度上運行25 000個周期。
注2:一個周期包括兩個動作,每個方向各一次。
在試驗中,樣品不能損壞。
注3:在試驗中,可使一個不超過50mA的監控電流流過樣品。
對于PTC發熱元件,在試驗之前和試驗之后測量輸入功率。此測量應在發熱元件垂直懸掛在大氣中并供以器具額定電壓下進行,兩次測量都應在相同的環境溫度并且在輸入功率達到穩定時進行。在試驗期間輸入功率不應有增加。
然后把樣品浸入到含有約1% NaCl的水中,在導體和鹽溶液之間施加一個約500V的直流電壓。
絕緣電阻應在浸入1min后測量并至少應為1MΩ。
單位:mm
A:直徑大于50mm的輪子;
B:滑車;
C:帶槽的輪子;
D:限制夾具;
E:嚙合釘銷;
F:節距為12.7的鏈條;
G:帶有節圓直徑為88.9的20齒鏈輪。
圖111 發熱元件和內部布線的彎曲試驗裝置
地址:廣州總部:廣東省廣州市番禺區東環街番禺大道北555號番禺節能科技園天安發展大廈703室、705室 郵編:511400
總機:020-39211670 傳真:020-39211640 E-mail:info@certitek.cn